Светильник светодиодный TLDR06 16Вт 1650Лм 3000К 80Ra IP20
TLDR06 16Вт 1650Лм 3000К 80Ra IP20
Дополнительная информация:
Если этот товар Вам не подошел, обратите внимание на другие товары в разделе Встраиваемые светильники нашего интернет-магазина
- Характеристики
-
Производитель: Технолюкс
Артикул производителя: R0616382
Тип источника света: LED
Патроны для ламп (ЛЛ): BJB
Кол. ист. света (ламп): 1
Мощность ист. света (Лампы), W: 16w
Потребляемая мощность, Вт: 16Вт
Световой поток, Lm: 1650
Цвет освещения: Теплый
Цветовая температура, К: 3000К
Индекс цветопередачи (CRI), Ra: 80Ra
ПРА, тип: LED драйвер
Блок авар. питания: Нет
Напряжение питания, V: 220
Частота питающей сети, Гц: 50
Тип питающей сети: AC
Клеммная колодка: Tridonic
Место установки: Подвесной / Гипсокартон
Способ установки: Встраиваемый
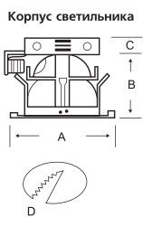
А, mm: 193
B, mm: 110
C, mm: 35
D, mm : 170
Корпус материал: Алюминий
Цвет корпуса: Белый
Рассеиватель, материал: РС - поликарбонат
Оптическая часть: Анодированный алюминий
Тип расc-ля (стекла): Матовое стекло
Отражатель материал: Зерк. растр.
Размер (упаковки): 240x210x170
Вес: 1,6 кг
Серия: TLDR06
Единица измерения: шт.
Количество в упак.: 1 шт.
Степень защиты (IP): IP20
Гарантия производителя: 3 года
Гарантия производителя, мес.: 36
Страна производства: Россия
- Размеры
-
- Доп. описание
-
