Светильник TL08-05 2*E27
TL08-05 2*E27
Дополнительная информация:
Если этот товар Вам не подошел, обратите внимание на другие товары в разделе Встраиваемые светильники нашего интернет-магазина
- Характеристики
-
Производитель: Технолюкс
Артикул производителя: 00740
Тип источника света: КЛЛ
Цоколь/патрон: E27
Патроны для ламп (ЛЛ): BJB
Кол. ист. света (ламп): 2
Мощность ист. света (Лампы), W: 20
Световой поток, Lm: 2400
ПРА, тип: ЭПРА
Блок авар. питания: Нет
Напряжение питания, V: 220
Клеммная колодка: Tridonic
Место установки: Подвесной / Гипсокартон
Способ установки: Встраиваемый
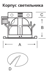
А, mm: 225
B, mm: 145
C, mm: 35
D, mm : 200
Корпус материал: листовая сталь
Цвет корпуса: Белый
Оптическая часть: Анодированный алюминий
Тип расc-ля (стекла): Зеркальный отражатель
Отражатель материал: Зерк. растр.
Размер (упаковки): 255x240x200
Вес: 1,0 кг
Серия: TL08
Единица измерения: шт.
Количество в упак.: 1
Степень защиты (IP): IP20
Страна производства: Россия
- Размеры
-
- Доп. описание
-
