Светильник TLDR06 11Вт 1200Лм 5000К 80Ra IP65
TLDR06 11Вт 1200Лм 5000К 80Ra IP65
Дополнительная информация:
Если этот товар Вам не подошел, обратите внимание на другие товары в разделе Встраиваемые светильники нашего интернет-магазина
- Характеристики
-
Производитель: Технолюкс
Артикул производителя: R0611586
Тип источника света: КЛЛ
Цоколь/патрон: G24d-2
Патроны для ламп (ЛЛ): BJB
Кол. ист. света (ламп): 2
Мощность ист. света (Лампы), W: 18
Световой поток, Lm: 2700
ПРА, тип: ЭмПРА
ПРА, класс: (EEI=B2)
Блок авар. питания: Нет
Напряжение питания, V: 220
Клеммная колодка: Tridonic
Место установки: Подвесной / Гипсокартон
Способ установки: Встраиваемый
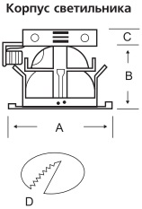
А, mm: 193
B, mm: 115
C, mm: 35
D, mm : 170
Корпус материал: листовая сталь
Цвет корпуса: Белый
Оптическая часть: Анодированный алюминий
Тип расc-ля (стекла): Зеркальный отражатель закрытый стеклом
Отражатель материал: Зерк. растр.
Размер (упаковки): 240x210x170
Вес: 1,6 кг
Серия: TL06
Единица измерения: шт.
Количество в упак.: 1
Степень защиты (IP): IP20
Страна производства: Россия
- Размеры
-
- Доп. описание
-
