Светильник TLDS08 EM 34Вт 3200Лм 3000К 90Ra IP20
TLDS08 EM 34Вт 3200Лм 3000К 90Ra IP20
Дополнительная информация:
Если этот товар Вам не подошел, обратите внимание на другие товары в разделе Встраиваемые светильники нашего интернет-магазина
- Характеристики
-
Производитель: Технолюкс
Артикул производителя: S08EM34392
Тип источника света: КЛЛ
Цоколь/патрон: G24d-3
Патроны для ламп (ЛЛ): BJB
Кол. ист. света (ламп): 2
Мощность ист. света (Лампы), W: 26
Световой поток, Lm: 3600
ПРА, тип: ЭмПРА
ПРА, класс: (EEI=B2)
Блок авар. питания: Нет
Напряжение питания, V: 220
Клеммная колодка: Tridonic
Место установки: Подвесной / Гипсокартон
Способ установки: Встраиваемый
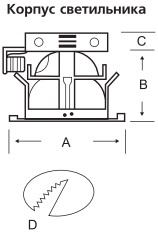
А, mm: 258
B, mm: 138
C, mm: 35
D, mm : 240
Корпус материал: листовая сталь
Цвет корпуса: Белый
Оптическая часть: Анодированный алюминий
Тип расc-ля (стекла): Зеркальный отражатель закрытый стеклом
Отражатель материал: Зерк. растр.
Размер (упаковки): 285x270x200
Вес: 2,25 кг
Серия: TL10
Единица измерения: шт.
Количество в упак.: 1
Степень защиты (IP): IP20
Страна производства: Россия
Сертификат: Сертификат Технолюкс TL,TLC, TLGR до 11.01.2023 г.
- Размеры
-
- Доп. описание
-
